Nissan Qashqai 2024 Manuels d’utilisation
6.3.1.2. Vues disponibles (modèles avec vue en 3D)

Les lignes de distance et les lignes de largeur du véhicule doivent être utilisées comme référence uniquement lorsque le véhicule se trouve sur une surface plane bitumée. La distance apparente indiquée sur le moniteur peut être différente de la distance réelle entre le véhicule et les objets affichés.
Utilisez les lignes affichées à l'écran et la vue à vol d'oiseau à titre de référence. Les lignes et la vue à vol d'oiseau varient beaucoup en fonction du nombre d'occupants, du niveau de carburant, de la position du véhicule et de l'état et du nivellement de la route.
Si les pneus sont remplacés par des pneus de taille différente, les lignes de manœuvre conseillée et la vue à vol d'oiseau peuvent être affichées de manière incorrecte.
En montée, les objets affichés par le moniteur sont plus éloignés qu'ils ne le semblent. En descente, les objets affichés par le moniteur sont plus proches qu'ils ne le semblent.
Les objets affichés sur la vue arrière apparaissent de manière inversée par rapport à la vue apparaissant dans le rétroviseur intérieur ou dans les rétroviseurs extérieurs.
Utilisez les rétroviseurs ou regardez en vision directe afin d'apprécier correctement les distances par rapport aux objets.
La distance entre les objets affichés en vue arrière diffère de la distance réelle en raison de l'utilisation d'un objectif grand angle.
Sur route enneigée ou glissante, il peut y avoir une différence entre les lignes de manœuvre conseillée et le mouvement réel du véhicule.
Les lignes de largeur du véhicule et les lignes de manœuvre conseillée sont plus larges qu'en réalité.
Vue avant et arrière


Les lignes de guidage, qui indiquent la largeur approximative du véhicule et la distance des objets par rapport aux lignes de la carrosserie du véhicule (A), sont affichées sur le moniteur.
Lignes de largeur du véhicule (1) :
Indiquent la largeur du véhicule.
Lignes de manœuvre conseillée (2) :
Indiquent la manœuvre conseillée lors du déplacement du véhicule. Les lignes de manœuvre conseillée se déplacent en fonction du degré de rotation du volant.
Lignes de distance :
Indiquent les distances par rapport à la carrosserie du véhicule.
Ligne rouge (3) : environ 0,5 m (1,5 ft)
Ligne bleue (4) : environ 1 m (3 ft)
Ligne bleue (5) : environ 2 m (7 ft)
Ligne bleue (6) : environ 3 m (10 ft)
La vue avant n'est pas affichée lorsque la vitesse du véhicule est supérieure à 20 km/h (12 MPH).
Lorsque la vitesse est supérieure à 20 km/h (12 MPH), l'écran passe à l'écran de navigation (selon modèles) et l'affichage est limité.
Vue à vol d'oiseau

La vue à vol d'oiseau offre une vision du dessus du véhicule, ce qui permet de confirmer la position du véhicule et la manœuvre conseillée par rapport à un espace de stationnement.
Le symbole du véhicule (1) indique la position du véhicule. Notez que la distance entre les objets affichés par la vue à vol d'oiseau peut ne pas correspondre à la distance réelle.
Les lignes de manœuvre conseillée (2) indiquent la manœuvre conseillée lors du déplacement du véhicule.
Les indicateurs de couleur ambre (3) s'affichent lorsque le sonar est désactivé ou lorsque le sonar n'est pas disponible au niveau des angles.

Les objets visualisés sur la vue à vol d'oiseau semblent plus éloignés qu'ils ne le sont en réalité.
Les grands objets, comme un trottoir ou un autre véhicule, peuvent ne pas être correctement alignés ou ne pas apparaître au niveau de la limite des vues données par les caméras.
Les objets qui se trouvent au-dessus de la caméra ne peuvent pas être affichés.
Des défauts d'alignement peuvent être constatés en vue à vol d'oiseau lorsque la caméra est mal positionnée.
Une ligne sur le sol peut ne pas être correctement alignée. Elle peut également ne pas être droite au niveau de la limite des vues données par la caméra. Plus les lignes s'éloignent du véhicule, plus ces défauts d'alignement augmentent.
Mémoriser le lieu (selon modèles)
Vous pouvez enregistrer les points où la vue avant élargie s'affichera automatiquement lorsque le véhicule se trouve à environ 30 mètres (110 ft) d'un lieu mémorisé. Cela peut s'avérer utile lorsque le conducteur doit vérifier les angles morts à des carrefours où la visibilité est faible, par exemple.
Pour mémoriser un lieu, appuyez sur l'icône Mémoriser le lieu
sans fil (selon modèles).
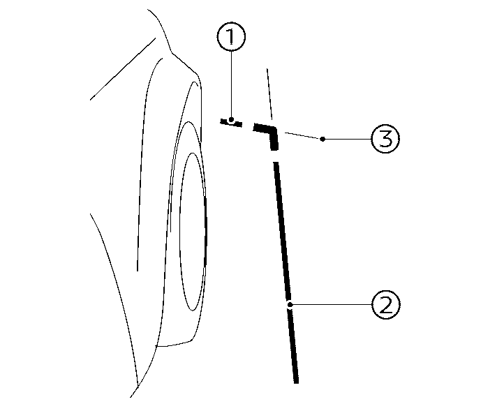
Vue latérale avant

Lignes de guidage :
Des lignes de guidage indiquant la largeur approximative et l'extrémité avant du véhicule sont affichées sur le moniteur.
La ligne avant (1) représente l'avant du véhicule.
La ligne latérale (2) indique la largeur du véhicule, rétroviseur extérieur compris.
Les prolongements (3) des lignes avant (1) et latérales (2) sont indiqués par une ligne bleue.

Le clignotant peut ressembler à la ligne sur le côté du véhicule. Il ne s'agit pas d'un dysfonctionnement.
Vue avant/arrière élargie


Lorsque la vue avant/arrière affiche une vue normale sur les écrans divisés, la vue avant/arrière élargie affiche une zone plus large sur la totalité de l'écran et permet de vérifier les angles morts des côtés droit et gauche.
Lignes de largeur du véhicule (1) :
Indiquent la largeur approximative du véhicule.
Lignes de manœuvre conseillée (2) :
Indiquent la manœuvre conseillée lors du déplacement du véhicule. Les lignes de manœuvre conseillée se déplacent en fonction du degré de rotation du volant.
Lignes de distance :
Indiquent les distances par rapport à la carrosserie du véhicule.
Ligne rouge (3) : environ 0,5 m (1,5 ft)
Ligne bleue (4) : environ 1 m (3 ft)
Ligne bleue (5) : environ 2 m (7 ft)
Ligne bleue (6) : environ 3 m (10 ft)
La vue avant élargie n'est pas affichée lorsque la vitesse du véhicule est supérieure à 20 km/h (12 MPH).
Lorsque la vitesse est supérieure à 20 km/h (12 MPH), l'écran passe à l'écran de navigation (selon modèles) et l'affichage est limité.

Lorsque le moniteur affiche la vue avant élargie et que le volant est tourné de 90 degrés ou moins par rapport à la position droite, les lignes de manœuvre conseillée droite et gauche (6) sont affichées. Lorsque le volant est tourné de 90 degrés ou plus, la ligne de manœuvre conseillée s'affiche uniquement du côté opposé au sens de rotation.
Vue en zoom arrière (selon modèles)
La vue en zoom arrière affiche une partie agrandie de la zone arrière du véhicule. Cela permet d'obtenir une vue arrière claire et limitée avec la ligne centrale conseillée, ce qui peut s'avérer utile lors de l'attache d'une remorque au véhicule, par exemple.
Pour désactiver ou activer la vue en zoom arrière, lorsque l'écran de la caméra est affiché, appuyez sur l'icône de vue en zoom arrière
.
Vue capot invisible (selon modèles)

La vue capot invisible permet à l'utilisateur de voir la surface de la route sous la carrosserie virtuellement transparente du véhicule. Cela peut être utile pour aligner les roues avant avec les rails d'une station de lavage automatique, ou pour éviter de heurter le côté du véhicule contre les trottoirs lorsque l'on roule à vitesse lente, par exemple.
Appuyez sur l'icône de vue capot invisible (8) pour activer la vue capot invisible. La première image s'affiche après que le véhicule s'est déplacé d'environ 3 mètres (10 pieds). Pour désactiver la vue capot invisible, sélectionnez une autre vue.

L'image de la surface de la route sous la carrosserie est un composite des images de la caméra avant et ne montre pas réellement la surface de la route sous la carrosserie du véhicule.
Lignes de manœuvre conseillée (1) :
Indiquent la manœuvre conseillée lors du déplacement du véhicule. Les lignes de manœuvre conseillée se déplacent en fonction du degré de rotation du volant. Les lignes de manœuvre conseillée dans la vue arrière ne s'affichent pas lorsque le volant est en position droite.
Lignes de distance (2) - (5) :
Lignes de distance :
Indiquent les distances par rapport à la carrosserie du véhicule.
Ligne rouge (2) : environ 0,5 m (1,5 ft)
Ligne bleue (3) : environ 1 m (3 ft)
Ligne bleue (4) : environ 2 m (7 ft)
Ligne bleue (5) : environ 3 m (10 ft)
Contour du véhicule (6) :
Indique le contour de la zone avant du véhicule.
Lignes de la zone des roues (7) :
Indique le contour des roues avant.
Icône de la vue capot invisible (8) :
Appuyez sur cette icône pour activer la vue capot invisible.
La vue capot invisible n'est pas affichée lorsque la vitesse du véhicule est supérieure à 20 km/h (12 MPH).
Vue en 3D (selon modèles)

La vue en 3D offre une vision à 360 degrés autour du véhicule, ce qui permet de confirmer la position du véhicule et d'indiquer la manœuvre conseillée par rapport à un espace de stationnement. La vue en 3D n'est pas disponible lorsque la position R (marche arrière) est sélectionnée.
L'image du véhicule (1) tourne en appuyant sur l'icône de rotation (2). Lorsque vous appuyez sur l'icône de rotation, l'image du véhicule et l'image de la zone environnante apparaissent et pivotent à 360° pour vérifier l'environnement du véhicule.
Il est également possible de faire pivoter l'image du véhicule en balayant l'image du véhicule elle-même.
8 directions de caméra différentes peuvent être sélectionnées en appuyant sur l'icône de position de la caméra (3).
Les lignes de manœuvre conseillée (4) indiquent la manœuvre conseillée lors du déplacement du véhicule.

La distance entre les objets affichés dans la vue en 3D ne correspond pas à la distance réelle.
Il existe des zones dans lesquelles les objets ne sont pas affichés par le système. Pour plus de détails, reportez-vous à
[Rotation 360° Automatique] (selon modèles)
Lorsque vous appuyez sur la touche <CAMERA> pour la première fois après avoir mis le contact d'allumage sur la position ON, l'image du véhicule et l'image de la zone environnante s'affichent et tournent automatiquement sur 360° (rotation automatique à 360°) pour vérifier l'environnement du véhicule.
Pour désactiver ou activer la fonction [Rotation 360° Automatique] lorsque l'écran de la caméra est affiché, appuyez sur
pour ouvrir le menu [Réglages]. Sélectionnez ensuite [Rotation 360° Automatique] pour activer ou désactiver la fonction.