Nissan Qashqai 2024 Manuels d’utilisation
4.3.3. Écran d'informations du véhicule

Lorsque le contact est mis, les écrans suivants peuvent s'afficher sur l'écran d'informations du véhicule si le véhicule est équipé des fonctions correspondantes :
1. [Accueil]
2. [Vide]
3. [Vitesse] (selon modèles)
4. [Ordinateur de cond.] — [Vitesse moyenne] (Distance & Durée)
5. [Consommation carburant]
6. [Guide de pédale ÉCO]
7. [Pression pneus]
8.[Stop / Start]
9. [Stop / Start] (selon modèles)
10. [Répartition du couple 4x4-i] (selon modèles)
11. [Navigation] (selon modèles)
12. [Navigation] (selon modèles)
13. [Boussole] (selon modèles)
14. [Audio]
15. Écran du téléphone (s'affiche en cas d'appel entrant)
16. [Aides à la conduite] (selon modèles)
17. ProPILOT Assist ou ICC/Conduite assistée (MT) (selon modèles)
18. [Signalisation] (selon modèles)
Avertissements. Les avertissements s'affichent uniquement en cas d'avertissements. Pour de plus amples informations sur les avertissements et témoins, reportez-vous à
.19. [Réglages]
Pour contrôler les paramètres affichés sur l'écran d'informations du véhicule, reportez-vous à
.
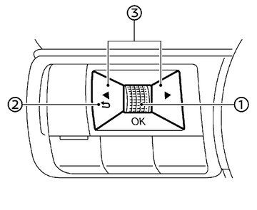
Les commandes de l'écran d'informations du véhicule sont situées du côté gauche du volant.
- Commande de défilement - permet de naviguer parmi les éléments et de modifier ou sélectionner un élément sur l'écran d'informations du véhicule. Cette commande de défilement permet de faire défiler la navigation vers le haut/bas et la sélection s'effectue en appuyant sur la commande
- permet de retourner au menu précédent
- permet de passer d’un écran à l’autre (par ex., Parcours, Économie de carburant)
Les images affichées peuvent différer en fonction du modèle.