Nissan Qashqai 2023 Manuels d’utilisation
6.3.1.1. Vues disponibles

Les lignes de distance et les lignes de largeur du véhicule doivent être utilisées comme référence uniquement lorsque le véhicule se trouve sur une surface plane bitumée. La distance apparente indiquée sur le moniteur peut être différente de la distance réelle entre le véhicule et les objets affichés.
Utilisez les lignes affichées à l'écran et la vue à vol d'oiseau à titre de référence. Les lignes et la vue à vol d'oiseau varient beaucoup en fonction du nombre d'occupants, du niveau de carburant, de la position du véhicule et de l'état et du nivellement de la route.
Si les pneus sont remplacés par des pneus de taille différente, les lignes de manœuvre conseillée et la vue à vol d'oiseau peuvent être affichées de manière incorrecte.
En montée, les objets affichés par le moniteur sont plus éloignés qu'ils ne le semblent. En descente, les objets affichés par le moniteur sont plus proches qu'ils ne le semblent.
Les objets affichés sur la vue arrière apparaissent de manière inversée par rapport à la vue apparaissant dans le rétroviseur intérieur ou dans les rétroviseurs extérieurs.
Utilisez les rétroviseurs ou regardez en vision directe afin d'apprécier correctement les distances par rapport aux objets.
La distance entre les objets affichés en vue arrière diffère de la distance réelle en raison de l'utilisation d'un objectif grand angle.
Sur route enneigée ou glissante, il peut y avoir une différence entre les lignes de manœuvre conseillée et le mouvement réel du véhicule.
Les lignes de largeur du véhicule et les lignes de manœuvre conseillée sont plus larges qu'en réalité.
Vue avant et arrière


Les lignes de guidage, qui indiquent la largeur approximative du véhicule et la distance des objets par rapport aux lignes de la carrosserie du véhicule (A), sont affichées sur le moniteur.
Lignes de distance :
Indiquent les distances par rapport à la carrosserie du véhicule.
Ligne rouge (1) : environ 0,5 m (1,5 ft)
Ligne jaune (2) : environ 1 m (3 ft)
Ligne verte (3) : environ 2 m (7 ft)
Ligne verte (4) : environ 3 m (10 ft)
Lignes de largeur du véhicule (5) :
Indiquent la largeur du véhicule.
Lignes de manœuvre conseillée (6) :
Indiquent la manœuvre conseillée lors du déplacement du véhicule. Les lignes de manœuvre conseillée se déplacent en fonction du degré de rotation du volant. Les lignes de manœuvre conseillée dans la vue arrière ne s'affichent pas lorsque le volant est en position droite.
La vue avant n'est pas affichée lorsque la vitesse du véhicule est supérieure à 10 km/h (6 MPH).

Lorsque le moniteur affiche la vue avant et que le volant est tourné de 90 degrés ou moins par rapport à la position droite, les lignes de manœuvre conseillée droite et gauche (6) sont affichées. Lorsque le volant est tourné de 90 degrés ou plus, la ligne de manœuvre conseillée s'affiche uniquement du côté opposé au sens de rotation.
Vue à vol d'oiseau

La vue à vol d'oiseau offre une vision du dessus du véhicule, ce qui permet de confirmer la position du véhicule et la manœuvre conseillée par rapport à un espace de stationnement.
Le symbole du véhicule (1) indique la position du véhicule. Notez que la distance entre les objets affichés par la vue à vol d'oiseau peut ne pas correspondre à la distance réelle.
Les zones situées entre les vues de la caméra (2) (selon modèles) sont indiquées en noir.
Après la mise du contact d'allumage sur ON, la zone qui n'est pas visible (2) (selon modèles) apparaît en surbrillance jaune pendant quelques secondes après l'affichage de la vue à vol d'oiseau.
Les indicateurs de couleur ambre (3) s'affichent lorsque le sonar est désactivé ou lorsque le sonar n'est pas disponible au niveau des angles.
Les lignes de manœuvre conseillée (4) indiquent la manœuvre conseillée lors du déplacement du véhicule.

Les objets visualisés sur la vue à vol d'oiseau semblent plus éloignés qu'ils ne le sont en réalité.
Les grands objets, comme un trottoir ou un autre véhicule, peuvent ne pas être correctement alignés ou ne pas apparaître au niveau de la limite des vues données par les caméras.
Les objets qui se trouvent au-dessus de la caméra ne peuvent pas être affichés.
Des défauts d'alignement peuvent être constatés en vue à vol d'oiseau lorsque la caméra est mal positionnée.
Une ligne sur le sol peut ne pas être correctement alignée. Elle peut également ne pas être droite au niveau de la limite des vues données par la caméra. Plus les lignes s'éloignent du véhicule, plus ces défauts d'alignement augmentent.
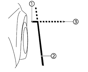
Vue latérale avant

Lignes de guidage :
Des lignes de guidage indiquant la largeur approximative et l'extrémité avant du véhicule sont affichées sur le moniteur.
La ligne avant (1) représente l'avant du véhicule.
La ligne latérale (2) indique la largeur du véhicule, rétroviseur extérieur compris.
Les prolongements (3) des lignes avant (1) et latérales (2) sont indiqués par une ligne en pointillés bleue.

Le clignotant peut ressembler à la ligne sur le côté du véhicule. Il ne s'agit pas d'un dysfonctionnement.
Vue avant/arrière élargie


Lorsque la vue avant/arrière affiche une vue normale sur les écrans divisés, la vue avant/arrière élargie affiche une zone plus large sur la totalité de l'écran et permet de vérifier les angles morts des côtés droit et gauche.
Lignes de distance (1) - (4) :
Indiquent les distances par rapport à la carrosserie du véhicule.
Ligne rouge (1) : environ 0,5 m (1,5 ft)
Ligne jaune (2) : environ 1 m (3 ft)
Ligne verte (3) : environ 2 m (7 ft)
Ligne verte (4) : environ 3 m (10 ft)
Lignes de largeur du véhicule (5) :
Indiquent la largeur approximative du véhicule.
Lignes de manœuvre conseillée (6) :
Indiquent la manœuvre conseillée lors du déplacement du véhicule. Les lignes de manœuvre conseillée se déplacent en fonction du degré de rotation du volant. Les lignes de manœuvre conseillée dans la vue arrière élargie ne s'affichent pas lorsque le volant est en position droite.
La vue avant élargie n'est pas affichée lorsque la vitesse du véhicule est supérieure à 10 km/h (6 MPH).

Lorsque le moniteur affiche la vue avant élargie et que le volant est tourné de 90 degrés ou moins par rapport à la position droite, les lignes de manœuvre conseillée droite et gauche (6) sont affichées. Lorsque le volant est tourné de 90 degrés ou plus, la ligne de manœuvre conseillée s'affiche uniquement du côté opposé au sens de rotation.