Manuel utilisateur Nissan
Nissan Qashqai 2023 Manuels d’utilisation
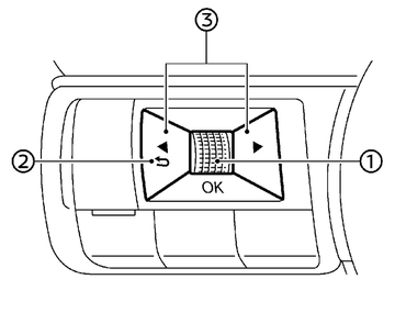
4.3.2. Comment utiliser l'écran d'informations du véhicule

L'écran d'informations du véhicule peut être modifié au moyen de la commande de défilement (1),
(2), et
(3) située au volant.
- (1) Commande de défilement - permet de naviguer parmi les éléments et de modifier ou sélectionner un élément sur l'écran d'informations du véhicule. Cette commande de défilement permet de faire défiler la navigation vers le haut/bas et la sélection s'effectue en appuyant sur la commande
- (2)
- permet de retourner au menu précédent - (3)
- permet de passer d’un écran à l’autre (par ex., Parcours, Économie de carburant)
Manuels d’utilisation