Nissan ARIYA 2024 Manuels d’utilisation
5.5.1.4. Système d'airbag de fenêtre
Ce système contribue à amortir la force d'impact sur le visage du conducteur et des passagers aux places avant et arrière lors de certaines collisions latérales. L'airbag de fenêtre est conçu pour se déployer du côté où le véhicule est percuté.
Le SRS est conçu pour compléter la protection en cas d'accident qu'offrent les ceintures de sécurité et n'est pas conçu pour remplacer celles-ci. Les systèmes de retenue supplémentaires peuvent sauver des vies et réduire la gravité des blessures. Cependant, le déploiement des airbags peut provoquer des écorchures et autres blessures. Les airbags ne garantissent pas de protection aux parties inférieures du corps. Les ceintures de sécurité doivent toujours être correctement attachées et les occupants doivent être assis à une distance convenable du volant, du tableau de bord et des garnitures de portières. (Reportez-vous à
.) Les airbags se déploient rapidement, de façon à protéger les occupants. De ce fait, la force de déploiement des airbags peut accroître le risque de blessure si l'occupant est assis trop près ou est appuyé contre ces modules d'airbag lors de leur déploiement.L'airbag avant et les airbags latéraux se dégonflent rapidement après déploiement. L'airbag latéral central avant et les airbags de fenêtre supplémentaires restent gonflés pendant une courte période.
Les systèmes de retenue supplémentaires fonctionnent uniquement lorsque le bouton de démarrage est placé sur ON.
Lorsque le bouton de démarrage est placé sur ON, le témoin d'avertissement d'airbag (SRS) s'allume durant 7 secondes environ, puis s'éteint. Ceci indique que le SRS fonctionne. (Reportez-vous à ${1}.)



Les airbags avant ne se déploient généralement pas en cas de collision latérale, de collision arrière, de tonneau ou de collision frontale peu importante. Attachez donc toujours votre ceinture de sécurité afin de réduire les risques ou la gravité des blessures dans tout type d'accident.
Les ceintures de sécurité et les airbags avant sont plus efficaces lorsque les occupants sont assis correctement, le dos appuyé et droit contre le dossier du siège. Les airbags avant se déploient avec une force considérable. Si les occupants du véhicule n'ont pas attaché leur ceinture de sécurité, s'ils sont penchés vers l'avant ou assis de côté ou de manière incorrecte, les risques de blessures graves voire mortelles sont accrus en cas d'accident. En cas de position d'assise trop proche de l'airbag avant lors de son déploiement, vous et vos passagers pourriez également être gravement ou mortellement blessés. Les passagers et le conducteur doivent être assis en position droite aussi loin que possible du volant ou du tableau de bord. Attachez toujours votre ceinture de sécurité.
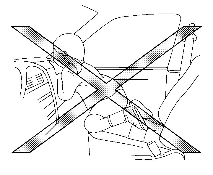
Tenez le volant en plaçant vos mains sur l'extérieur de celui-ci. Les placer à l'intérieur de la garniture du volant augmenterait le risque de blessure si l'airbag avant se déploie.







Ne permettez jamais que des enfants voyagent sans être attachés ou en laissant passer leurs mains ou leur visage par la fenêtre. N'essayez pas de les tenir sur vos genoux ou dans vos bras. Quelques exemples de positions de conduite dangereuses sont indiqués sur les illustrations.
Les enfants risquent de subir des blessures graves, voire mortelles, s'ils ne sont pas attachés correctement.
N'installez jamais de dispositif de retenue pour enfant dos à la route sur le siège passager avant sans vous être assuré que l'airbag passager avant est désactivé. Le déploiement d'un airbag avant pourrait blesser gravement voire mortellement votre enfant. (Reportez-vous à
.)





L'airbag latéral central avant, les airbags latéraux et les airbags de fenêtre supplémentaires ne se déploient généralement pas en cas de collision frontale, de collision arrière, de tonneau ou de collision latérale peu importante. Attachez donc toujours votre ceinture de sécurité afin de réduire les risques ou la gravité des blessures en cas d'accident.
Les ceintures de sécurité et l'airbag latéral central avant, les airbags latéraux et les airbags de fenêtre supplémentaires sont plus efficaces lorsque l'occupant est assis correctement, le dos appuyé et droit contre le dossier du siège. L'airbag latéral central avant, les airbags latéraux et les airbags de fenêtre supplémentaires se déploient avec une force considérable. Si les occupants du véhicule n'ont pas attaché leur ceinture de sécurité, s'ils sont penchés vers l'avant ou assis de côté ou de manière incorrecte, les risques de blessures graves voire mortelles sont accrus en cas d'accident.
Veillez à ce que personne n'approche ses mains, ses jambes ou son visage de l'airbag latéral central avant, les airbags latéraux et les airbags de fenêtre supplémentaires situés au centre du dossier du siège du conducteur, sur les côtés du dossier des sièges avant ou près des rails de toit latéraux. Ne laissez aucun passager avant ou arrière sortir les mains par la vitre ou s'appuyer contre la portière. Quelques exemples de positions de conduite dangereuses sont indiqués sur les illustrations.
Les occupants des sièges arrière ne doivent pas se tenir au dossier de siège avant. Si l'airbag latéral central avant, les airbags latéraux et les airbags de fenêtre supplémentaires se gonflent, vous risquez des blessures graves. Veillez particulièrement à ce que les enfants soient toujours correctement attachés.
Ne recouvrez pas les dossiers de sièges avant de housses. Elles pourraient gêner le gonflage de l'airbag latéral central avant et l'airbag latéral supplémentaire.