Manuel utilisateur Nissan
Nissan Qashqai e-POWER 2023 Manuels d’utilisation
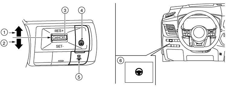
8.21.2. Commandes du système ProPILOT Assist

- (1)Commande <RES+>
- Permet de reprendre la vitesse définie ou d'augmenter la vitesse par palier.
- (2)Commande <SET–>
- Permet de régler la vitesse de croisière souhaitée ou de réduire la vitesse par palier
- (3)Commande <CANCEL>
- Désactive le système ICC sans effacer la vitesse définie
- (4)Commande ProPILOT Assist :
- Permet d'activer ou de désactiver ProPILOT Assist
- (5)Commande de distance
- — Loin
- — Moyenne
- — Proche
- (6)Commande de conduite assistée
- Permet d'activer ou de désactiver la fonction de conduite assistée.
Manuels d’utilisation